Svajojate apie nuosavą namą? Šiame straipsnyje aptarsime įvairius namų statybos aspektus, nuo projektų pasirinkimo iki elektros instaliacijos ypatumų. Taip pat pasidalinsime atsiliepimais apie populiarų "Gilė" namų projektą.

Namo projekto pasirinkimas
Pirmas žingsnis statant namą - tinkamo projekto pasirinkimas. "Gilė" yra vienas iš populiarių projektų, tačiau svarbu atsižvelgti į savo individualius poreikius ir sklypo ypatumus. Esant poreikiui, namo projektą pritaikome pagal individualius kliento poreikius.
Populiarūs namų projektai:
- Nidos kopa: 30 m2
- Kaštonas: 10 m2
- Uoga: 6,5 m2
- Gilė: 4,5 m2
- Šakelė: 15 m2
- Pušelė: 25 m2
- Dvišlaitė pušelė: 25 m2
- Pušelė + šakelė: 40 m2
- Neries banga: 42 m2
- Trys pušelės: 55+ m2
- Dvi pušelės: 50 m2
- Nauja šiaurė: 60 m2
- Baltijos ruonis: 80 m2
- Auksinė smilga: 120 m2
- Smėlio debesis: 140 m2
- Nemuno vingis: 160 m2
- Vėjo sapnas: 200 m2
Karkasinių namų statyba išsiskiria individualumu ir lankstumu: jie yra statomi iš karto statybos vietoje, suteikiant neribotos architektūros galimybes ir dizaino laisvę. Moduliniai namai yra gaminami gamykloje, o vėliau pristatomi į vietą.
"Gilė" namo projekto atsiliepimai
Daugelis žmonių renkasi "Gilė" namo projektą dėl jo erdvumo ir patrauklaus dizaino. Tačiau, svarbu atsižvelgti į statybos sąnaudas. Šio namo statyba brangi, o mes dar kažkodėl tai jį pakėlėm į viršų po 20 cm. nuo kiekvieno aukšto,viso 40 cm padidėjo, kad būtų erdvesni kambariai ir rekoperacijai vietos, ir tai labai jaučiasi, pagal sąnaudas, tai jis pas mus atrodo ohooo, didelis labai.
Kai kurie svarsto, ar "Gilė" nėra per didelis namas ateičiai, kai vaikai užaugs ir išsikels. Vyras irgi labai norėjo vienaaukščio namo, bet kažkaip susitarėm. ir dar vienas dalykas, jei senatvėje bus per didelis namas - parduoti r stataisi mažesnį, pagal kitus poreikius...
Viena iš "Gilės" puošmenų - balkonas, tačiau ne visiems jis reikalingas. Gal kuri esate mažinus balkoną ar jo visiškai atsisakius?
"Gilė" namo vidaus išplanavimas
Planuojant vidaus išplanavimą, svarbu atsižvelgti į šildymo sistemą. jeigu pasirinksite oras/vanduo, ar geoterminį šildymą - nafik ta katilinė iš viso reikalinga? Pasyvaus namo gal nepasieksite, bet sandarų ir šiltą - galite, tuomet energijos poreikis gali būti toks mažas, kad kaina už 1kW nebebus tokia aktuali. Jei kurensite kietu kuru, katilinė bus būtina. virtuve ir valgomasisi- jei nedarysite bariuko- vietos tikrai uztenka (nors ziuriu gilej 3 ta patalpa visai numazinta,o papiesta taip pat kaip gilej1 su 20 kv..
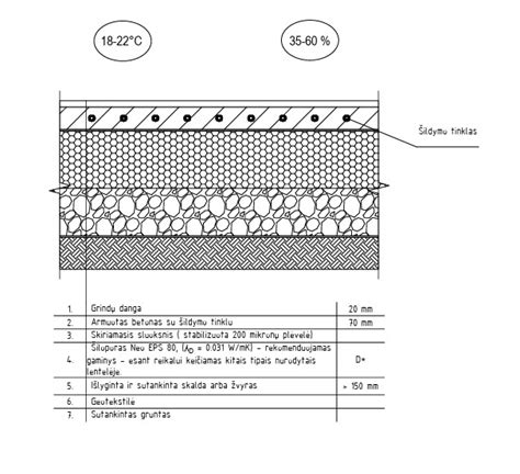
Pamatų įrengimas
Pamatai - svarbiausia namo dalis, užtikrinanti jo stabilumą ir ilgaamžiškumą. Daugelio užsakovų tipinė klaida yra ta, kad norėdami sutaupyti jie renkasi tipinį projektą. Tai nėra blogas pasirinkimas, tačiau tokiuose projektuose būna apskaičiuoti tipiniai pamatai, o juos kiekvienu atveju reiktų skaičiuoti atskirai.
Prieš skaičiavimus būtina atlikti inžinierinius geologinius tyrimus, kurių metu bus ištirtos grunto savybės planuojamoje statybų aikštelėje. Norint projektą pritaikyti konkrečiai vietovei, reikia žinoti tos vietos grunto tipą, įšalimo gylį ir gruntinių vandenų kiekį, jų lygį, paviršiaus reljefą ir pan.
Pastato pagrindas būna dviejų tipų - natūralus ir dirbtinis. Natūraliu laikomas gruntas, esantis po pamatais ir pasižymintis laikančiosiomis savybėmis. Jos užtikrina pastato stabilumą ir tolygų sėdimą. Geromis laikančiosiomis savybėmis nepasižymintis gruntas, kurį reikia papildomai tvirtinti arba keisti, vadinamas dirbtiniu.
Pagal konstrukciją pamatai skirstomi į juostinius, stulpinius ir ištisinius. Pastaruoju metu mažaaukščiams namams vis plačiau imami naudoti poliniai pamatai.
Visi gruntai skirstomi į dvi grupes: besiplečiančius gruntus ir nesiplečiančius. Besiplečiantiems gruntams priskiriami molingi, smėlingi (smulkaus ir dulkinio smėlio), stabiablokiai gruntai, kuriuose yra daugiau kaip 15 proc. molio priemaišų.
Jei namas bus sunkus, pamatus vertėti daryti gelžbetoninius, o padas turėtų būti žemiau grunto peršalimo lygio. Geriausias variantas - ištisinė gelžbetoninė plokštė po visu namu, kuri yra ir pamato pagrindas, ir rūsio grindys.
Poliniai pamatai turi savo privalumų. Jų naudojimas gerokai sumažina žemės darbų apimtis (80 proc. Pagal gamybos metodą ir įkasimą į gruntą poliai skirstomi į kalamus, kurie sukalami pagaminti, ir suleidžiamus, kurie gaminami pačiame grunte (išgręžtuose kanaluose). Suleisti poliai jungiami monolitiniu gelžbetoniniu arba surenkamomis grotelėmis.
Pamatus reikia lieti iškart, nes gruntas gali susipurenti arba jį paveikti krituliai. Molinguose gruntuose įrengiamas ne mažesnis kaip 10 cm betoninis pagrindas arba dviejų sluoksnių hidroizoliacija, kad gruntas nesugertų cemento pieno ir vėliau pamatai nesusiurbtų kapiliarinės drėgmės. Jei gruntas smėlingas, hidroizoliacija tankinama, daroma žvirgždo pagalvė, o šioji užpilama bitumine mastika, išliejam plokštė ir vėliau - pamatas.
Jei tranšėja pamatui kasama ekskavatoriumi, ją vertėtų padaryti 10-20 cm aukštesnę negu reikia, o vėliau reikiamą kiekį nukasti rankomis. Tai sumažins pamato pado sėdimą ir užtikrins jo sandaresnį prigludimą prie grunto.
Neapkrautas nulinis ciklas žiemą bus stumiamas intensyviau negu pamatai, ant kurių stovės bent „dėžutė", todėl ją reiktų sumontuoti dar tais pačiais metais.

Pamatų įrengimo schema
Elektros instaliacija
Elektros įvedimas į namą - svarbus etapas, kurį reikia planuoti atsakingai. Elektrikas inžinierius Kaunas Naujo vartotojo elektros tinklų prijungimas prie esamų Nusipirkome sklypą, o aplink mus yra tušti sklypai. Šiuo metu planuojame įsivesti elektrą, kurią ves iš už 200m esančios transformatorinės. Klausimas toks, ar kuomet kiti kaimynai norės vestis elektrą kaip nauji vartotojai, turės mums papildomai sumokėti, kadangi jau vesis nuo mūsų namų jau įrengtų tinklų? Ar mes galime nesutikti, kad jie vestųsi nuo mūsų, jeigu nesutinka sumokėti?
Ne, kaimynui Jūs įtakos daryti negalėsite jokios. Kaip naujas elektros vartotojas jungsis nuo artimiausių tinklų pagal esamus nustatytus bendrus įkainius.
Viskas teisingai, prisiduoti reikia tik elektros ūkio įvadą ir į ESO. Kitaip tariant, jei jau turite elektrą, nieko papildomai pridavinėti nereikia.
Norint įsivesti elektrą į namelį: 1. Variantas: Kreiptis į ESO ir gauti prijungimo sąlygas, tada surasti elektriką, kuris atliks visus kitus reikiamus darbus ir sutvarkys dokumentus elektros pajungimui. 2. Variantas, jei kaimynas sutinka ir už išnaudotą elektrą mokėsit kaimynui, galimas ir toks variantas, tik išlieka galimybė, kad vieną dieną gali kaimynas imti ir nebeleisti naudotis jo elektros tinklu.
Kas įveda elektrą nuo dėžės? 1. To tikrai neatlieka ESO. 2. Darbus pasidaryti galite ir patys, bet dokumentų tvarkymą, varžų matavimus atlikti gali tik sertifikuota įmonė, kuri turi leidimus užsiimti nurodyta veikla. 3. Įmonė atliekanti varžų matavimus ir ruošianti dokumentus pridavimui į VEI paruošia ir mini projektą.
Neturės savininkas jokių patvirtinančių dokumentų apie tai, kad iki sklypo atvestas elektros įvadas, gali turėti dokumentus jeigu yra įvadas sklype. O Pasitikrinti ar įvadas yra šalia sklypo labai nesudėtinga, galima vizualiai pažiūrėti ar įrengtas ESO skirstomasis skydas šalia sklypo, arba tą patį padaryti svetainėje regia.lt pagal sklypo adresą, jei pro sklypą eina elektros linija, ją ten tikrai pamatysite.
Pradėti reikia nuo ESO sąlygų išėmimo, tą namo savininkas gali atlikti ir internetu, arba aptarnavimo centre "Gile" prieš ten kreipiantis reikia žinoti kiek kw jums bus reikalinga ir tai nurodyti. Aš patarčiau iš karto kabelį prasitiesti ten kur bus pagrindinė namo skydinė.
Elektros kabelis be papildomo šarvo Ar galima kloti nedegų kabeli be papildomo šarvo ant medžio plokštės, ir koki geriau pasiulitumėte kabeli? Taip galima, o kad pasiūlyti jums kokį kabelį turėčiau žinoti kokiam tikslui jis klojamas. Pvz HDGS serijos kabeliai puikiai tiks namo instaliacijai.
Ar saugu el. laidus slėpti po GKP? Pastogė, medis, vata ir GKP ar OSB apdailai. Reglamentuoti įstatymai paprastai pasakius sako taip kad tokiose vietose kur yra medis būtina naudoti kabelius atsparius ugniai, kad jie netaptų gaisro priežastimi ir židiniu. Arba kabelius verti į nedegų apvalkalą, tada kabelius slėpti tokioje erdvėje yra tikrai saugu.
Pirmiausia neapsirikite pirkdami Led šviestuvus ir įsitikinkite kad jie yra tikrai skirti dimeriavimui, nes tokio kaip ir specialaus dimerio Led šviestuvams nebūna, tiesiog led šviestuvų maitinimo blokas turi turėti galimybe būti dimeriuojamas.
Galite dėti dimerį į pagrindinio jungiklio vietą, tokiu atveju šviesos intensyvumą nusireguliuoti galėsite toje vietoje o apšvietimą išsijungti ir įjungti jungikliais esančiais prie lovos, tik jeigu kas nors išjungs dimerį tokiu atveju jungikliai liks neveiksnūs. Pavyzdžiui vakare įsijungėte apšvietimą dimeriu nusireguliavote intensyvumą ir prieš miegą išjungėte šviesą jungikliu prie lovos, ryte atsikėlėte jau kai buvo šviesu ir namo grįžote vėl tik vakare tai tokiu atveju dimeriu jūs nieko neįjungsite o turėsine nueiti prie lovos įjungti apšvietimą.
Kitaip tariant dimeris lieka nveiksnus jei neįjungtas nei vienas iš jungiklių arba jungikliai yra neveiksnūs jei neįjungtas dimeris.

Elektros instaliacijos schema
Kiti patarimai
Jeigu Jums patiko mūsų namo projektas, tačiau vis tiek norite kažką pakeisti, galite kreiptis į architektą ir jis už papildomą mokestį padarys Jūsų norimus pakeitimus. Pigiausi ir nesudėtingiausi pakeitimai yra apdailos medžiagų, pertvarų (nelaikančiųjų sienų) perkėlimai, panaikinimai ar pridėjimai. Taip pat labai svarbu žinoti, jog kai kuriuos nesudėtingus pakeitimus galite atlikti ir jau gavus statybos leidimą - statybos metu.