Rostverko aukštis yra svarbus aspektas projektuojant polinius pamatus. Tinkamas aukštis užtikrina pastato stabilumą ir ilgaamžiškumą. Šiame straipsnyje aptarsime, kaip nustatyti mažiausią rostverko aukštį, atsižvelgiant į įvairius veiksnius, tokius kaip grunto savybės, klimato sąlygos ir pastato konstrukcija.

Prieš pradedant projektuoti pamatus, būtina atlikti išsamius sklypo ir grunto tyrimus. Tai padės nustatyti tinkamiausią pamatų tipą ir rostverko aukštį.
Sklypo ir Grunto Charakteristikos
Fizinė Geografinė Statybos Vietos Charakteristika Tyrinėjamas sklypas yra Vilniaus mieste prie Ukmergės - Vilniaus plento, Šeškinės mikrorajone. Šioje vietovėje yra labai nežymus nuolydis, aukščių skirtumas svyruoja iki 3,3m. Absoliutiniai aukščiai kinta 167,55-164,20 ribose. Šalia sklypo yra pastatas- parduotuvė „Širvinta“. Kadangi atstumas iiki pastato yra labai mažas, įrengiant pamatus reikia imtis priemonių esamo pastato pamatams nepakenkti. Esamo pastato pamatai yra juostiniai, įgilinti 3,5m.
Grunto Tyrinėjimai
Statybos vietovėje šnekiniu būdu išgręžtas 1 gręžinys 8m gylio. Gruntų fizinių-mechaninių savybių nustatymui buvo atliktas statinis zondavimas 7-iuose taškuose, radioaktyvus karotažas taip pat 7 taškuose. Statinis zondavimas atliktas zondavimo LBU-50 agregatu, panaudojant hidraulinę 2-jų cilindrų matavimo galvutę. Šoninės trinties matavimo cilindro plotas 50 cm2 ir grunto stiprumo kūgiui matavimo cilindro plotas 10 cm2. Šoninė trintis ir grunto atsparumas zondo kūgiui matuojamas dviem manometrais.
Geologinė-Litologinė Sąranga
Geomorfologiniu požiūriu statybinis sklypas yra aliuvoglacialinėje baltijos lygumoje (agIIIbl). Tiriamą gruntą gręžinyje sudaro šie sluoksniai:
- Piltas smėlis- storis 1,5m
- Priesmėlis plastingas - storis 1m
- Smėlis vidutinio stambumo vidutinio tankumo - storis 6m
- Priemolis kietai plastingas - nuo 8,0m gylio, giliau sluoksnis nepragręžtas
Fizinės Mechaninės Gruntų Savybės
Gruntų fizinių mechaninių savybių rodiklių reikšmės pateiktos pjūvyje ir taikytinos su sąlyga jeigu statybos metu gruntai bus apsaugoti nuo gamtinės sandaros suardymo, išmirkymo, išdžiūvimo ir sušaldymo. Pilti gruntai, purūs smėliai natūraliems pamatams nerekomenduojami. Naudojant pamatams polius 30×30 skersmens apytikrė laikomoji galia 9,0m gylyje sudarys~600 kN.
- Pirmas sluoksnis: piltas gruntas ( smėlis su dirvožemiu), gylis 1m, storis 0,6m, abs.a.
- Antras sluoksnis: priesmėlis rudas, plastingas, gylis 11,7m, storis 0,7m, abs.a.
- Trečias sluoksnis: smėlis vidutinio stambumo, rudas, vidutinio tankumo, su žvyru, mažai drėgnas, gylis 7,4m, storis 5,7m, abs.a.
- Ketvirtas sluoksnis: priemolis, rudas, su žvyru ir smėlio lęšiais, kietai plastingas, gylis 10m, storis 2,6m, abs.a.
Hidrogeologinės Savybės
Gręžinyje gruntinis vanduo neaptiktas. Lietingais metų periodais priemoliuose ir priesmėliuose gali atsirasti gruntinių lęšių vanduo. Tokiuose gruntuose rūsio apsaugai nuo galimo vandens pritekėjimo būtina numatyti atitinkamas priemones.
Pastato Konstrukcija ir Apkrovos
Pastato konstrukcija ir apkrovos taip pat turi įtakos rostverko aukščio nustatymui. Svarbu atsižvelgti į šiuos aspektus:
- Pastato karkasas gelžbetoninis surenkamas, trijų tarpatramių su tiltiniais kranais kiekviename.
- Kolonų žingsnis kraštinėje eilėje 6,0 m.
- Denginio sijos su kolonomis sujungtos šarnyriškai.
- Vienos kolonos sėdimas nesudarys papildomų įražų kitose kolonose bei sijoje.
- Kolonos standžiai įtvirtintos pamatų lizduose: jų aukštis 9,6 m, skerspjūvis 40×80 cm.
- Sienos plytų mūro 38 cm storio.
- Pastatas be rūsio, grindys betoninės įrengtos ant grunto.
- Pastato vidaus temperatūra 15oC.
Požeminės Komunikacijos ir Gamybiniai Procesai
Tyrinėjamame sklype praeina lietaus kanalizacija, kuri įgilinta 1,2m. Tokiu atveju pamatai turi būti įrengti žemiau esamų inžinerinių tinklų, kad avarijos atveju nebūtu pakenkta pamato laikomajai galiai. Ypatingai aukštų ar ypatingai žemų temperatūrų technologiniuose procesuose nėra. Taip pat nėra gamybinių procesų kurie sukeltu dinaminius poveikius, ar kitokius kurie mažintų pagrindo laikomąją galią ar pastovumą.
Pamatų Tipai ir Jų Tinkamumas
Renkantis pamatų tipą, svarbu atsižvelgti į grunto savybes, pastato konstrukciją ir ekonominius aspektus. Aptarkime dažniausiai naudojamus pamatų tipus:
Seklieji Pamatai
Jie įrengiami iškastoje pamatų duobėje, kurios kraštai pastačius pamatą užpilami gruntu. Jie perduoda pastato apkrovą pagrindui tiktai padu. Tokie pamatai įrengiami kai žemės paviršiuje slūgso stiprūs gruntai. Seklieji pamatai techniniu ekonominiu požiūriu turėtų būti ne didesni kaip 3,5m. Tokie pamatai neturėtų būti gilinami žemiau nei gruntinio vandens horizontas.
Poliniai Pamatai
Jie gali būti kabamieji ir atremti. Kabamieji yra tuomet kai polio padas neatsiremia į kietą pagrindą ir visa apkrova į gruntą perduodama tiktais šonine trinties jėga. Kai polio padas yra atremiamas į ggiliau slūgsantį gruntą, tai pastato apkrovą pagrindui poliai perduoda padu ir šonais. Poliais įtempimai pasiskirstomi dideliame grunto tūryje. Taip pat poliai gali būti gręžininiai arba kalamieji. Kalant polius gruntas apie juos sutankėja, tuo būdu didėja stiprumas. Poliniai pamatai nusėda mažai, jų pagrindo laikomoji galia didelė.

Gręžininiai Pamatai
Tai pamatai, kurių santykis d/b≥2. Jie įrengiami grunte pastatams , kurie perduoda dideles vertikalias bei horizontalias jėgas. Jie standūs, pagrindo laikomoji galia didelė, nes gruntas negali būti išspaustas iš po pamato į žemės paviršių.
Dirbtiniai Pagrindai
Seklieji pamatai nėra tinkami dėl dviejų priežasčių. Pirma: esamame statybos sklype praeina lietaus kanalizacija, ir avarijos atveju gali būti pakenkta pamato pagrindo stiprumui. Taigi pamatą reikia gilinti giliau kanalizacijos lygio. Antra: viršutiniai sluoksniai yra piltas gruntas, o po juo plastingas priesmėlis. Tokie pagrindai nėra tinkami natūraliems pamato pagrindams. Pagrindo tankinimas šiuo atveju irgi nėra racionalus sprendimas, kadangi gruntas plastingas.
Poliniams pamatams įrengti reikia mažiau atlikti žemės darbų , mažiau suardoma gamtinė aplinka, mažesnis darbo imlumas. Šis variantas yra tinkamas. Gręžininiai pamatai tinka , kadangi leidžiantis gilyn grunto sluoksnis yra tas pats ir stiprumas praktiškai nekinta. daugiausiai įtakos turėtų pamato plotas. Be to gręžininių pamatų reiktų įrengti mažiau negu kalamųjų kadangi jų pado plotas yra kur kas didesnis. Tokiu būdu jų įrengimas gali būti ekonomiškesnis.
Polinių pamatų įrengimas. Rekomendacijos
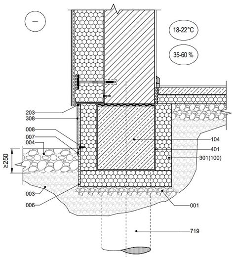
Norint nustatyti minimalų rostverko aukštį poliniams pamatams, būtina atsižvelgti į keletą svarbių veiksnių. Visų pirma, reikia įvertinti vietovės klimato sąlygas ir užtikrinti, kad rostverkas būtų pakankamai aukštai virš žemės paviršiaus, kad būtų išvengta drėgmės ir šalčio poveikio. Rostverko viršus turėtų būti mažiausia 10 - 20 cm virš žemės paviršiaus, kad tirpstant sniegui ar stipriai lyjant karkaso apačia nešlaptų. Taip pat svarbu atsižvelgti į pastato konstrukciją ir apkrovas, kad rostverkas būtų pakankamai tvirtas ir stabilus. Rostverko stiprumas priklauso nuo dviejų dalykų - betono markės ir armatūros padėties. Galiausiai, rekomenduojama pasikonsultuoti su patyrusiais inžinieriais ir architektais, kurie padės nustatyti optimalų rostverko aukštį atsižvelgiant į konkrečius statybos sąlygas ir reikalavimus.
Poliniam pamatui užtenka 50cm rostverko. Koks tinkamiausias pamatas parenka konstruktorius pagal grunto tyrimus.

Ekonominis Aspektas
Įvairių tipų pamatų naudojimo efektyvumas gali būti nustatytas tik remiantis variantinių projektavimų ir atskirų variantų palyginimu inžineriniu bei ekonominiu požiūriu. Kad būtų lengviau lyginti kursiniame projekte suprojektuotus polinių ir giliųjų gręžininių pamatų variantus, galima pasinaudoti specialių ekonominių tyrimų duomenimis. visos namo kainos, įskaičiuojant hidroizoliaciją, apšiltinimą bei kitus pamatų paruošimo darbus. Pamatų tipą bei įrengimo būdą apsprendžia namo masė, t.y., jo svoris, apkrovos ir grunto pagrindas, į kurį remiasi pastatas.
Ekonominių Tyrimų Duomenys
Kad būtų lengviau lyginti kursiniame projekte suprojektuotus polinių ir giliųjų gręžininių pamatų variantus, galima pasinaudoti specialių ekonominių tyrimų duomenimis. Prieš žiemą išliekite ir rostverką. Rostverką uždenkite drėgmei nelaidžia medžiaga. Rostverką užpilkite laidžiu gruntu ir suformuokite gruntą taip, kad vanduo nuo pamato nubėgtų. Tuomet žiema pamatui bus nebaisi.
Gręžtinių Pamatų Įrengimo Principai
Planuoju savo jėgomis įrengti gręžtinius pamatus pamatus, todėl noriu paklausti, kokie pagrindiniai pamatų įrengimo principai? Koks turi būti gręžinių gylis, diametras, bei atstumas tarp pamatų polių? Gruntas - po juodžemio sluoksniu smėlis su šlynu.
Konstruktorius suprojektavo gręžtinius pamatus. Klausimas dėl gręžtinių pamatų armatūrinio karkaso. Kiek teko matyti iš nuotraukų, tai karkasas įbetonuojamas gręžinyje, o lauke lieka apie 500 mm armatūros strypai. Man konstruktorius, pabraižė, kad prie pagrindinio armatūrinio karkaso reikia papildomai privirinti 4 vnt. 16 mm storio armatūros strypelius po 700 mm ilgio, prie kurių jungsis rostverkas. Ar galima palikti ilgesnius pagrindinio karkaso vertikalios armatūros strypus ir prie jų jungti rostverką?
Dažniausios Klaidos Įrengiant Pamatus
Pamatų įrengimas - vienas iš atsakingiausių namo statybos darbų, pamatai yra svarbiausia laikančioji namo konstrukcija ir jų įrengime padarytas klaidas ištaisyti kainuoja labai brangiai ar iš viso neįmanoma. Rimti pamatų montuotojai neapsiima montuoti pamatų be projekto. Konstruktorių darbui palengvinti išleistas vadovėlis - „Pamatai ir pagrindai" (Vilnius, 2012, Technika). Jo autoriai - dr. doc. Danutė Sližytė, dr. doc. Jurgis Medzvieckas ir dr.doc. Prieš klojant pamatus būtina atlikti tam tikrus parengiamuosius darbus. Daugelis savininkų pageidauja, kad pro namo langus atsivertų įspūdingas gamtovaizdis, dažnai būtent dėl jo ir perka sklypą vaizdingoje vietovėje. Tačiau labai dažnai vandens telkinių pakrantėse, miškingose vietovėse gruntas būna netvirtas.
Dažniausios klaidos:
- Neatlikti aikštelės paruošimo darbai.
- Neparengtas pamatų projektas.
- Pasirenkamas tipinis pamatų projektas.
- Neįrengiamas drenažas pamatų perimetru ir pamatų hidroizoliacija.
- Netinkama pamatų pagrindo kokybė.
Praktinis Pavyzdys: Rostverko Įrengimas
Skydus (klojinius) rostverkui jau turėjome. Pirmąją dieną valėmės, išmontavome ir krovėmės skydus, juos reikėjo atsivežti iš kito Lietuvos galo. Antrą dieną gaminome 12 mm armatūros karkasą rostverkui, jį tvirtidami 6 mm armatūra. Tuos armatūros karkasus dėjome ant polių armatūros. Karkasą virinome, taip pat visur rišome vielute. Kur 6m karkaso ilgio neužteko, jas papildomai rišome su tokio pat storio armatūra - 1,5 m ilgio strypais, taip pat darėme atskirai lenktus armatūros karkasus į rostverko kampus. Armatūros karkaso aukštis - 37 cm. Nuo apačios tvirtinome apie 8 cm, nuo putos gavosi apie 4-5 cm, nes ji kelis centimetrus buvo šiek tiek žemiau už skydus, ir nuo viršaus tiksliai 5 cm. Tris su pusę dienos užtruko skydų surinkimas ir pasiruošimas betonavimui. Rinkome skydus, klojome 5 cm putų polistirolio sluoksnį, kurį aplink armatūras, kyšančias iš polių, apipjaustėme, armatūros karkasą tvirtinome vielutėmis ir papildomomis armatūromis. Gal net šiek tiek ir persistengta, bet karkasas tokio tvirtumo buvo, jog iš vietos nepajudinsi.
Iš viso pasiskaičiavome, jog reikia su šiokiu tokiu užsimetimu apie 8,4 kubus betono. Užsiklausėme kelių įmonių, kokia būtų C20/25 betono su siurbliu ir pristatymu kaina. Sutartą dieną laukėme apie pietus, tačiau paskambino iš Autokaustos ir pranešė, jog porą valandų vėluos, bet tikrai atvažiuos. Praėjus porai valandų dar kartą paskambino ir paklausė, ar nieko prieš, jog jeigu vietoj 16 m siurblio, atvažiuos 32 m ilgio siurblys - žinoma, už tą pačią kainą. Apsidžiaugėme, nes 16 m siurblys buvo tik tik ir jau buvome pasiruošę variantą, jeigu nepasieks pačio toliausio krašto. Tik bėda buvo ta, kad pati maišyklė buvo mažesnė ir talpino nebe 9 kūbus, o 7,5 kūbo. Jau gerokai link vakaro atvažiavo maišyklė su siurbliu. Visas darbas vyko labai greitai ir sklandžiai. Betono išpylimas užtruko lygiai 1h, vienas iš mūsų laikė siurblį, kiti iš paskos, vibravo skydus, kiti lygino rostverko viršų. Viso sugaišome apie 2h. Girdėjome visokių gąsdinimų, jog betonas bus labai skystas ir bėgs per visus tarpelius, bet nieko panašaus nebuvo. Netgi gal šiek tiek per daug laiko ir jėgų investavome į skydų apkasimą ir absoliutų užsandarinimą. Išpylus betoną pro siurblį, jo apie 2-3 m rostverko ilgyje trūko, tačiau vairuotojas išleido likusią dalį (kurios jau nepagriebia siurblys) ant mūsų paruoštos plėvelės. Dar gavosi geras puskūbis, jo užteko pabaigti visą rostverką ir dar vienas pilnas kibiras liko. Kadangi tomis dienomis lepino saulė, tai kelias dienas laistėme pamatą, o po dviejų dienų jau nuiminėjome skydus. Betonas 8 kūbai C20/25 su 32 m.
Skaičiuojant rostverko medžiagas, buvo naudojama:
| Medžiaga | Kiekis |
|---|---|
| Betonas | 8,4 kub. m |
| Armatūra | 12 mm ir 6 mm |
| Polių armatūra | - |
| Putos polistirolas | 5 cm sluoksnis |
Namo ribų žymėjimas sklype. I etapas. Pamatų įrengimas, polių gręžimas, rostverkas.
Finnfoam turi specialų sprendimą poliniams pamatams - U profilį, t.y. iš ekstrudinio putplasčio suformuotas klojinys į kurį supilamas betonas, lygiai taip pat, kaip montuojant įprastus klojinius, tačiau šiuo atveju jums nereikia nuomotis klojinių, jų surinkinėti, vėliau išmontuoti ir klijuoti šiltinimo medžiagą, su U profiliu viskas padaroma vienu metu. Jų maksimalus aukštis 56 cm, kadangi visas rostverkas yra apsaugotas nuo sąlyčio su gruntu, tai pilnai pakanka tokio aukščio pamato rostverko.