Didžiuosiuose šalies miestuose aikštelių automobiliams trūkumas tapo didžiule problema. Kaip daugiabučio ar įmonės kieme įrengti parkingą? Aptarsime grunto sustiprinimą, automobilių stovėjimo vietų įrengimą vejoje ir kitus svarbius aspektus.

Finansinė Parama Daugiabučių Kiemų Atnaujinimui
Vilniaus savivaldybė daugiabučių bendrijoms, kurios atnaujina senesnių nei 15 metų daugiabučių namų kiemus ir teritoriją, iš Kaimynijų programos lėšų skiria po 10 eurų už 1 kv. m. atnaujinamos teritorijos. Pavyzdžiui, jeigu kiemo plotas - 10 000 kv. m., galima gauti 0,1 mln. eurų jo atnaujinimui. Sostinėje yra suformuotos 1288 kaimynijos, turinčios 934 ha neužstatytų bendrų plotų. Juos pagal gyventojų pageidavimus galima pertvarkyti į poilsio zonas, žaidimų aikšteles.
Pagal šią programą taip pat finansuojamas ir automobilių stovėjimo vietų kieme įrengimas, kaimynijos teritorijoje suformuotų sklypų įteisinimas. Kaimynijų programą Vilniuje administruoja VšĮ „Atnaujinkime miestą", galbūt panašių programų yra ir kituose didmiesčiuose.
Grunto Sustiprinimas Įrengiant Automobilių Stovėjimo Aikštelę
Norint apsisaugoti nuo kokybiškų, naujai supilamų gruntų susimaišymo su prastais pagrindo gruntais, šiuos sluoksnius būtina atskirti. Dėl inovatyvios struktūros užpilamo grunto dalelės įstringa tarp geotinklo akučių, taip apribojamas grunto dalelių judėjimas tiek vertikalia, tiek horizontalia kryptimis. Geotinklo akutės yra trikampio formos, o trikampis - tvirčiausia bei standžiausia geometrinė figūra. Kiekviena kraštinė tolygiau sąveikauja su šalia esančiomis.
Darbo Eiga:
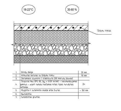
- Nuomos punkte išsinuomojate dinaminę plokštę. Ji yra skirta grunto stiprio matavimui. Aukščiau pateiktame brėžinyje grunto stiprio skaičius žymimas "Evd".
- Vadovaudamiesi gamintojo ir/ar nuomos punkto instrukcijomis, keletoje vietų pamatuojate esamo grunto stiprį. Jei jis yra didesnis nei nurodytas brėžiniuose - tęsiate darbus pagal pateikiamus žemiau punktus.
- Maksimaliai sutankinate esamą pagrindą.
- Ant sutankinto ir išlyginto pagrindo klojama didelio tempiamojo stiprio neaustinė geotekstilė S18NW.
- Ant neaustinės geotekstilės paklojamas triašis geotinklas TX160, perdengiamas 30 cm bei kas 2-3 metrai sukabinamas plastikiniais dirželiais, kad nepasislinktų užpilant gruntą.
- Ant geotinklo užpilamas 0/16 - 0/32 mm frakcijos smėlio-žvyro mišinys. Sluoksnio storis priklauso nuo pagrindo stiprumo ir reikiamo pasiekti stiprumo ant sluoksnio viršaus. Sluoksnio storis turi būti nurodytas projektuojamo pagrindo brėžinyje.
- Gruntas pilamas "atbuline" tvarka, t.y., griežtai draudžiama tiesiogiai ant geotinklo važinėti su savivarčiais ar kita technika. Gruntas tolygiai paskirstomas, išlyginamas ir sutankinamas.
- Praėjus 2-iems dienoms po sutankinimo, su dinamine plokšte pamatuojamas sluoksnio stiprumas (žr. brėžinį).
- Ant anksčiau supilto ir sutankinto smėlio - žvyro mišinio pilamas projektinis (pagal brėžinį 150-200 mm storio) 0/45 - 0/56 mm frakcijos skaldos sluoksnis.
- Praėjus 2-iems dienoms po sutankinimo, su dinamine plokšte pamatuojamas sluoksnio stiprumas (žr. brėžinį).
Automobilių Stovėjimo Vietų Įrengimas Vejoje
Norintiems turėti niekuo neišsiskiriančią iš aplinkos žalią veją, ant kurios drąsiai galėtumėte statyti automobilius nepakenkdami žolei bei pagrindui, patariame naudoti didelio gniuždomojo stiprio groteles GeoGreen arba GeoGrass.
Darbo Eiga:
- Pirmiausiai nuo numatytosios dėvimojo paviršiaus altitudės daroma apytiksliai 30 cm gylio iškasa ir pavibravus pamatuojamas jos stiprumas (žr. brėžinį). Jei esamas pagrindas nėra bent Evd ≥ 25 MPa (Ev2 ≥ 45 MPa), rekomenduojama kreiptis į specialistus, kad jie nustatytų tinkamą sustiprinimą.
- Iškasos dugnas ir šonai išklojami didelio stiprio neaustine geotekstile S18NW.
- Įrengiamas ir gerai sutankinamas mažiausiai 150 mm storio pagrindo sluoksnis. Jam rekomenduojama naudoti 0/16 - 0/32 mm frakcijos gerai drenuojančio (praleidžiančio vandenį) smėlio - žvyro mišinį. Praėjus dviems dienoms po sutankinimo, patikrinamas grunto stiprumas.
- Ant sutankinto smėlio - žvyro mišinio sluoksnio įrengiamas 100 mm storio grotelių pagrindo sluoksnis. Šiam sluoksniui rekomenduojama naudoti vulkaninės kilmės 0/5 mm frakcijos smėlio sluoksnį su nedidele augalinio grunto ir trašų priemaiša, tai padės užtikrinti gerą vejos vešėjimą. Šiam sluoksniui svarbus geras sutankinimas ir lygumas prieš grotelių įrengimą.
- Įrengus įsodinimo sluoksnį, klojamos GeoGreen (arba GeoGrass) grotelės. Įrengiant groteles, dėl galimo terminio plėtimosi rekomenduojama palikti 30 mm tarpus nuo bet kokių fiksuoto įtvirtinimo objektų (pvz., nuo bortų, šulinių). Apeinant kliūtis GeoGreen elementus galima pjaustyti diskiniu pjūklu. Preliminariam darbų vertinimui galima skaičiuoti, kad vienas žmogus per valandą gali įrengti apie 60 kv.m GeoGreen (arba GeoGrass) grotelių.
GeoGreen grotelių užpildymas:
Grotelės gali būti pildomos vulkaninio smėlio (0/5 frakcijos), dirvožemio ir organinės trąšos mišiniu arba paprasto silicio smėlio, dirvožemio ir durpių/humuso mišiniu. Grotelių akutės užpildomos iki pat viršaus, tada palaistoma vandeniu, kad gruntas susėstų ir vėl užpildoma iki galo. Sėti veją galima ant jau užpildytų grotelių akučių arba sėklas galima įmaišyti tiesiogiai į užpildo gruntą. Kokias vėjos sėklas rinktis, geriausia pasikonsultuoti su tos srities specialistais.
Iki visiško žolių įsišaknijimo būtina pasėtą veją laistyti.
Bendros priežiūros ir naudojimo rekomendacijos: veją reguliariai tręškite ir laistykite, periodiškai patikrinkite, ar akučių nereikia papildomai užpildyti gruntu.
💛💚❤️ ATKŪRIMO EUROTONAS! | 1€ – 2MIN⌚ | #3 DIENA 📅

tags: #daugiabucio #parkingo #brezinys